其它
商品名称:表观密度测定仪 表观密度检测仪
商品型号:GBT1636
商品型号:GBT1636
表观密度测定仪 表观密度检测仪 型号:GBT1636
一、产品用途
GBT1636型表观密度测定仪用于从规定漏斗中流出的松散材料(粉料或粒料)的表观密度测定。表观密度对于评价模塑料的相对松散性或相对体积有一定价值。是化工行业原料进厂质量检验的一种测试仪器。
该仪器符合标准:GBT1636-2008《塑料 能从规定漏斗流出的材料表观密度的测定》。
二、主要参数
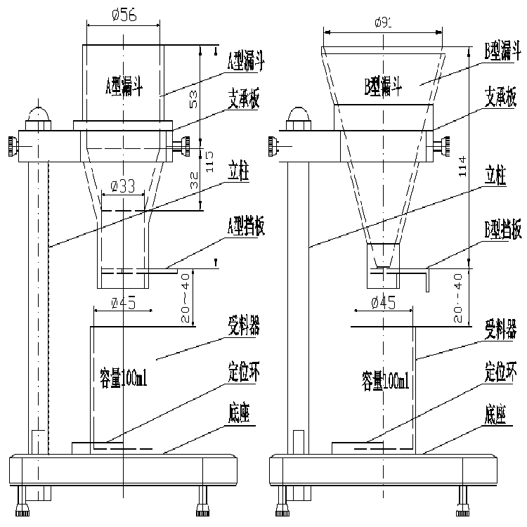
1、A型漏斗:出料口直径 Φ33mm,入料口直径Φ56mm,漏斗高度 115mm
2、B型漏斗:出料口直径 Φ10mm,入料口直径Φ91mm,漏斗高度 114mm
3、漏料间距:20~40mm
4、受料容器:容器内径 45±5mm,容器容积 100±0.5mL。
三、仪器结构
表观密度测定仪由底座,立柱,支承板,A型漏斗,B型漏斗,漏斗挡板,受料容器等部分组成。
产品订单
联系方式
北京亚欧德鹏科技有限公司
联系电话:010-51298264/51294858
手机:15313602957 18210605334
传真:010-57553286
联系人:曹经理
地址:北京市门头沟区双峪环岛东南角熙旺中心(东方巴黎时代广场)B座2137
网址: // www.5zao1.com/
QQ:2577341770 2235197632
alibaba旺旺:depeng201105
联系电话:010-51298264/51294858
手机:15313602957 18210605334
传真:010-57553286
联系人:曹经理
地址:北京市门头沟区双峪环岛东南角熙旺中心(东方巴黎时代广场)B座2137
网址: // www.5zao1.com/
QQ:2577341770 2235197632
alibaba旺旺:depeng201105
相关分类
友情链接
|
|
|
|
|
|
|
|



